来源:华体会官网下载 发表时间:2024-05-14 浏览量:1876 作者:
光栅式高光谱相机及成像系统,作为现代光学技术的重要成果,正逐渐在多个领域展现其独特的优势和应用价值。光栅式高光谱相机以其高分辨率、高灵敏度以及光谱信息的丰富性,
光栅式高光谱相机及成像系统,作为现代光学技术的重要成果,正逐渐在多个领域展现其独特的优势和应用价值。光栅式高光谱相机以其高分辨率、高灵敏度以及光谱信息的丰富性,为科研、工业检测、环境监测等领域提供了全新的技术手段。

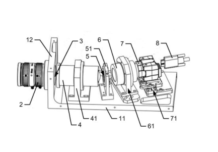
光栅式高光谱相机主要由底板、镜头、狭缝、准直镜、透射光栅、聚焦镜和探测器等关键部件组成。这些部件按照特定的布局和角度关系固定于底板上,形成了一个高效、稳定的光学系统。镜头作为成像系统的“眼睛”,负责收集目标场景的光线;狭缝则起到限制光线范围、提高光谱分辨率的作用;准直镜则用于将光线转换为平行光,确保光栅的准确成像;透射光栅则负责将平行光分散成不同光谱成分;聚焦镜则将分散的光谱成分聚焦于探测器上;探测器则负责将光信号转换为电信号,从而获取光谱信息。
在本实用新型中,狭缝的宽度和长度被精确控制在一定范围内,以保证光谱分辨率和成像质量的稳定性。同时,各部件的光轴之间具有特定的夹角关系,这些夹角经过精心设计,旨在实现光谱信息的有效分离和聚焦,从而获取高质量的光谱图像。

光栅式高光谱相机的成像原理基于光谱成像技术,通过对不同光谱成分进行分离和探测,实现对目标场景的多维度信息获取。这种技术使得相机能够同时获取目标的空间信息和光谱信息,为后续的图像处理和分析提供了丰富的数据支持。
在应用领域方面,光栅式高光谱相机具有广泛的应用前景。在科研领域,它可以用于研究物质的光谱特性、分析物质的成分和结构;在工业检测领域,它可以用于产品质量控制、故障检测和识别;在环境监测领域,它可以用于监测大气污染、水质污染等环境问题。
光栅式高光谱相机还具有高稳定性、高可靠性和易于操作等优点。其结构紧凑、重量轻,便于携带和安装;同时,其操作简单直观,用户只需进行简单的设置和调整即可进行光谱成像。
光栅式高光谱相机及成像系统作为一种先进的光学技术,具有广泛的应用前景和重要的应用价值。随着技术的不断发展和完善,相信它在未来将会在更多领域发挥其独特的作用。